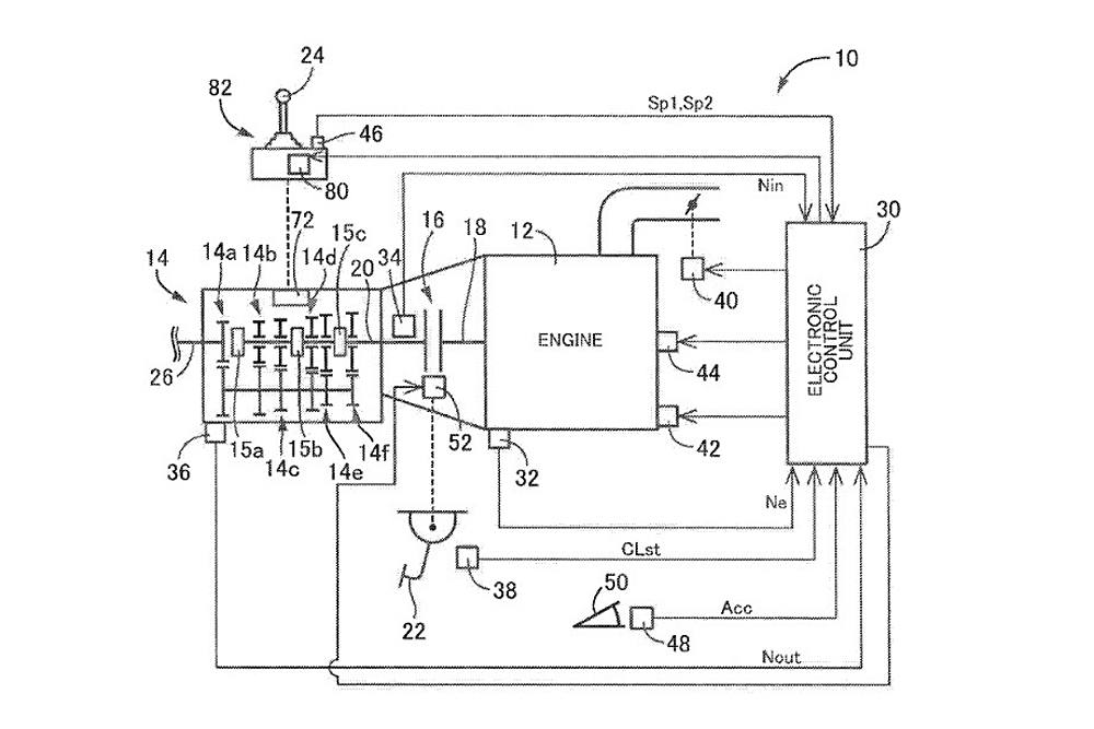
Toyota изобрела новый тип коробки передач![]() Toyota запатентовала новый тип коробки передач, представляющий собой гибрид механической и автоматической трансмиссий. Информация о разработке японского автопроизводителя опубликована на сайте Ведомства по патентам и товарным знакам США. Как отмечается в документе, нововведение "зашито" в специальный электронный блок управления, который способен переводить коробку передач в нейтральное положение при движении автомобиля накатом. В этот момент автоматика отключает сцепление, что позволит существенно экономить топливо.
При этом электроника не даст водителю включить слишком низкую или высокую ступень коробки передач, тем самым оберегая ее от излишнего износа. Предполагается, что эта функция также поможет начинающим автомобилистам при переключении передач. На каких автомобилях и когда может появиться такая коробка, и вообще планируется ли наладить ее серийное производство, Toyota пока не сообщала. Напомним, недавно были названы самые экономичные автомобили на российском рынке. Первое место в этом рейтинге занял гибрид Toyota Prius. Силовая установка с бензиновым двигателем 1.8 на 98 л.с. и электромотором позволяет Prius тратить менее 3 литров на сотню. 09.08.2017 Материалы по теме
|


